|
Figure 1. Compounds (A) and amino acid alignment of the M2 region (shaded) of the subunits (B) used in this study. Residues important for binding channel blockers are highlighted. Subunit accession numbers: human GABA α1, P14867; human GABA β2, P47870; human GABA γ2, P18507; Drosophila RDL, P25123.
|
|
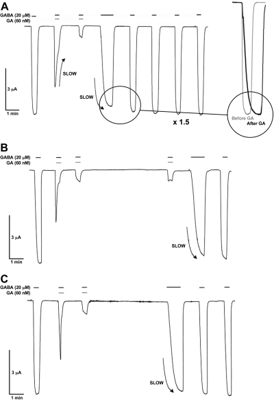
Figure 2. Typical experiments showing that the inhibition of GABA responses in RDL receptors is slow to develop and wash out. A) Following an application of GABA alone, coapplication of GA with GABA shows that the response reaches 60% of maximal before it is slowly inhibited. A stable level of inhibition is only reached with a subsequent coapplication of GA and GABA. B) The level of inhibition is unchanged even after a long washout. C) Following inhibition, activation is slow but is independent of the wash time between agonist applications. This suggests that GA becomes trapped within the channel, and only slowly leaves the open channel on agonist application. Preapplication did not change ginkgolide potency, consistent with access also requiring an open channel. In this work, all concentration-inhibition curves and the derived parameters were calculated from measurements taken during a second, stable, level of inhibition. Ginkgolides were obtained as previously described (19).
|
|
Figure 3. Concentration-inhibition curves show that ginkgolides are more potent at insect RDL receptors than at human α1β2 GABAA receptors. Inhibition was measured at the respective GABA EC50 values for each receptor. Values are expressed as means ± se, with sample size and other parameters shown in Table 2.
|
|
Figure 4. Ginkgolide potency at RDLA2â²V mutant receptors. A) Concentration-inhibition curves for RDLA2â²V mutant receptors show that ginkgolide potency is significantly decreased compared to wild-type receptors. Values are expressed as means ± se, with sample size and other parameters shown in Table 2. B) Typical responses from an RDLA2â²V mutant receptor show that onset and recovery from inhibition are faster in these receptors.
|
|
Figure 5. Ginkgolide potency at wild-type and mutant α1β2 (A) and α1β2γ2 (B) GABAA receptors. Concentration-inhibition curves show that ginkgolide potency is mostly increased compared to wild-type receptors, although PTX potency is either decreased (α1V2â²Aβ2 receptors; A) or unchanged (α1V2â²Aβ2γ2 receptors; B). Values are expressed as means ± se, with sample size and other parameters shown in Table 2.
|
|
Figure 6. Mutant cycle analysis of interactions between ginkgolides and the 2′ residue. IC50 values from RDL receptors are at left; those from human GABAA receptors are at right. A coupling parameter (Ω) was calculated from IC50 values (Table 2) using the standard equation Ω = IC50 wtL1 × IC50 mutL2/IC50 wtL2 × IC50 mutL1, where wt = wild type, mut = mutant, and L1 and L2 are the ligands GA and GB, respectively.
|
|
Figure 7. Insecticidal activities of ginkgolides in wild-type (CantonS) and dieldrin-resistant (Rdl) adult D. melanogaster in coated vial bioassays. AâC) Fractional mortality is plotted against ginkgolide concentration (mg/ml): BB (A), GA (B), GB (C). In panel A, molar equivalents are shown in parentheses. D) Mortality in the absence of compound. The resistant strain carries a target-site mutation (A2â²S) in its Rdl gene that confers resistance (no significant mortality up to 72 h) to the cyclodiene insecticide dieldrin; in wild-type flies, LD50 was 2.0, 2.0 and 1.7 μg/ml at 24, 48, and 72 h, respectively. The resistant strain survived well at the highest concentrations of ginkgolides tested, showing that a mutation at the 2â² residue confers cross-resistance. For the wild-type strain, data are fitted with a 4-parameter logistic equation, yielding the LD50 values shown in Table 3. Comparable data could not be derived for Rdl, owing to its resistance to the compounds. Values are means ± se for the sample size shown. Similar experiments with PTX revealed no toxicity in either batch of flies, probably due to access problems, as in previous studies (28).
|
|
Figure 8. Docking of ginkgolides to wild-type RDL receptors. All ginkgolides and PTX docked at a similar location; here, GB is shown as a typical example. From above, it can be seen to fit snugly in the pore between the 5 M2 helices; from the side, it is located between the 2′ and 6′ residues, where it forms hydrogen bonds with 6′Thr residues.
|
|
Figure 9. Ginkgolide concentration-inhibition curves at RDLT6â²V mutant receptors. Gingkolides inhibited GABA-activated responses only at high concentrations, with values of IC50 > 100 μM. Values are means ± se, with sample size and other parameters shown in Table 4.
|
|
Figure 10. Docking at RDLT6′V mutant receptors. A) Docked pose for GB using the same template as in Fig. 8. B) Locations of 10 docked poses are superimposed to show the distributions of ginkgolides in the channel. These data show that all ligands docked ∼10 Å higher in the channel compared with wild-type receptors. In addition, the poses of GB in the wild-type (T6′) receptor are closely clustered, while in RDLT6′V (6′V) receptors, they are more widely distributed. RMSD for clusters is shown at bottom left in each panel.
|